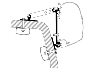
LH+RH END PLATE LEAD RAIL 2000 Nr 8

Art.nr: 9956034
186,-
 
Legg i handlekurven
  • Information
  • Dokument
  • Omdömen
  • Produktsikkerhetsinformasjon (GPSR)
  • Vi samler for øyeblikket inn all produktsikkerhetsinformasjon fra importøren og produsenten.
    Den nødvendige GPSR-informasjonen for dette produktet vil bli oppdatert så snart vi mottar informasjonen.
    Hvis du har spørsmål om dette, kan du kontakte oss på info@camping4u.no. Du er hjertelig velkommen!
  • Levering og frakt
  • Lagersaldo: 0

Se flere produkter

Andre kjøpte også:

Skuff til dør Dometic
587,-
Få igjen
EasyLevel, vater med Bluetooth
12
KAMPANJ
749,- 849,-
På lager
MaxxFan Deluxe 40x40cm vifte
30
KAMPANJ
4190,- 5995,-
På lager
Tetningsmasse Teroson RB 2759 (Terostat)
18
KAMPANJ
269,- 327,-
På lager
Logg inn