Adapterramme 40x40cm Ducato Van MaxxFan
- Information
-
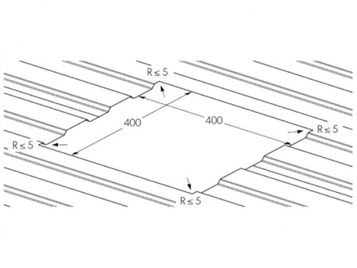
Adapterramme som muliggjør enkel montering av klimaanlegg og takluker på flatt, bølgeformet trapesformet metallplate med en takåpning på 40 x 40 cm. Passer blant annet til Ducato Van med bølgeformet trapesformet metallplate.
Passer for montering av MaxxFan - Dokument
-
- Omdömen
- Produktsikkerhetsinformasjon (GPSR)
-
-
Lagersaldo: -1Shipping: Klass 29 5001 - 10000g
